Aktuellt datum och tid: 30 apr 2026, 05:05
Visa obesvarade inlägg | Visa aktiva trådar
Forumindex » Teknik » Underhåll och reparation
|
Sida 1 av 1
|
[ 6 inlägg ] |
|
| Författare |
Meddelande |
|
GURRA
|
Inläggsrubrik: Demontera sidofönster impala 65? Postat: 07 nov 2010, 21:47 |
|
Blev medlem: 12 okt 2010, 19:50 Inlägg: 998 Ort: SÖDERBÄRKE
|
|
Hey
Hur sitter sidorutorna fast på 65orna?? lär åka till lackarn å demontera dem då de vill slipa lite runt dom, men ej kommer åt när rutorna sitter i.. Så tänkte höra om nån visste hur de sitter fast så man kan plocka med sig de verktyg som behövs till demonteringen.. // Gurra
|
|
 |
|
|
Fippls
|
Inläggsrubrik: Re: Demontera sidofönster impala 65? Postat: 07 nov 2010, 21:49 |
|
Blev medlem: 21 jun 2010, 23:10 Inlägg: 240
|
|
Åhå, det här är intressant för mig också iom att rutan på förarsidan inte är helt optimalt justerad och inte går stänga ibland! Säg gärna till om du får höra nåt.
|
|
 |
|
|
GURRA
|
Inläggsrubrik: Re: Demontera sidofönster impala 65? Postat: 07 nov 2010, 22:36 |
|
Blev medlem: 12 okt 2010, 19:50 Inlägg: 998 Ort: SÖDERBÄRKE
|
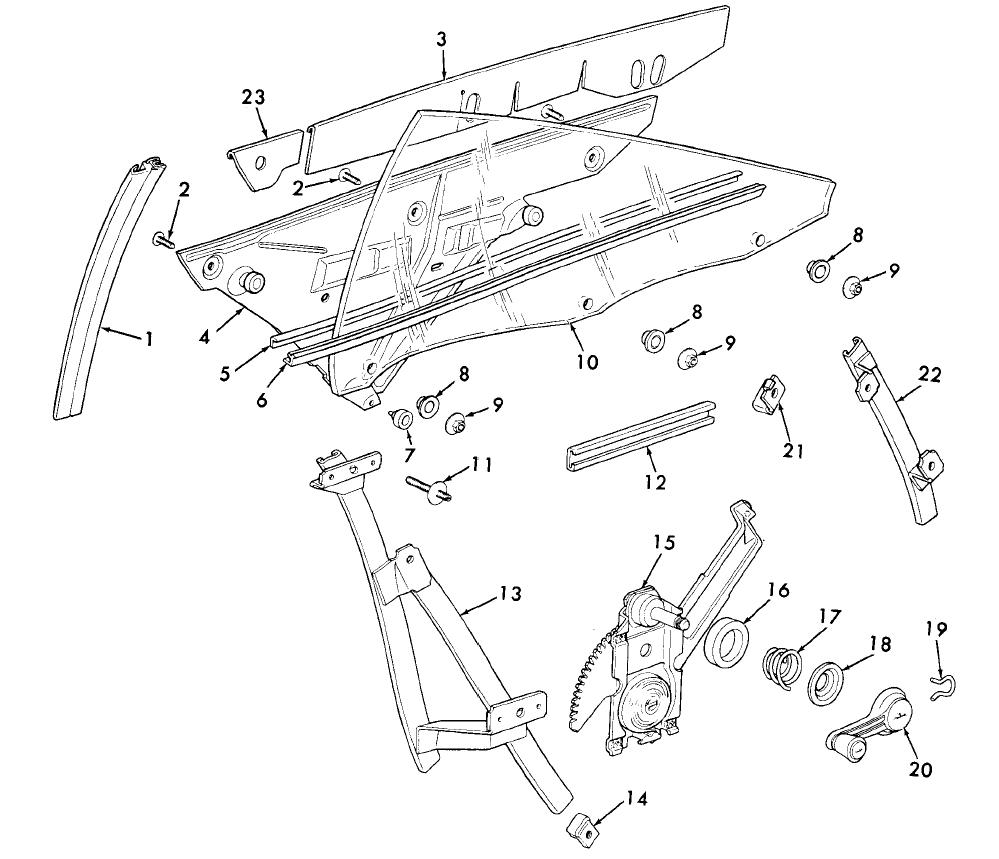
Hey Har nu lyckats hitta en bild på Quarter rutan å på denna ser det ut som den sitter fast med 3 bult å mutter.. men frågan är bara vilken fattning dessa har, & om de går att ta ur utan att demontera hela vev hiss mekanismen??.. Likaså dörrutorna verkar va skruvade men hur å går de att demontera utan att demontera hela mekanismen??? // Gurra Bilaga:
HT RUTA.JPG [ 103.99 KiB | Visad 4412 gånger ]
|
|
 |
|
|
ss-65
|
Inläggsrubrik: Re: Demontera sidofönster impala 65? Postat: 08 nov 2010, 02:22 |
|
Blev medlem: 03 jul 2010, 06:55 Inlägg: 207 Ort: Lundsbrunn
|
|
Har inte haft isär mina på 65:an men alla Gm 60-tal ser ungefär likadana ut...iallafall dom jag har haft...Om du tar bort dörrsidan och vevar ner rutan längst ner först! Titta in och känn med handen längst ner på rutan, där sitter det en stålkanal som är monterad med 2-4 skruv i var ände! Dessa skruvbläck sitter monterade på saxmekanismen som för rutan uppåt och neråt! Det är bara att lossa dessa och trixa ut rutan uppåt inklusive stålkanalen som rutan sitter monterad i! Se och känn genom dom hål som finns original i dörrsidans plåt! Lycka till! Stefan
_________________ Stefan S.A.M.S.Garage
|
|
 |
|
|
ss-65
|
Inläggsrubrik: Re: Demontera sidofönster impala 65? Postat: 08 nov 2010, 02:24 |
|
Blev medlem: 03 jul 2010, 06:55 Inlägg: 207 Ort: Lundsbrunn
|
|
Ovanstående svar gäller för dörrens rutor...I bak är det liknande princip men av bilden att döma så får du även lossa den "spårlist" som rutan löper i...
_________________ Stefan S.A.M.S.Garage
|
|
 |
|
|
GURRA
|
Inläggsrubrik: Re: Demontera sidofönster impala 65? Postat: 08 nov 2010, 17:26 |
|
Blev medlem: 12 okt 2010, 19:50 Inlägg: 998 Ort: SÖDERBÄRKE
|
|
Hey
Tack för svaren.. Var iväg på lunchen & demonterade rutorna.. De satt fast med 3st muttrar 3/8" vardera på nån special bult 11/16.. De lossade iaf riktigt smidigt.. Så nu kan de blästra utan att rutorna blir frostade.. // Gurra
|
|
 |
|
|
Sida 1 av 1
|
[ 6 inlägg ] |
|
Forumindex » Teknik » Underhåll och reparation
Vilka är online
Användare som besöker denna kategori: Inga registrerade användare och 3 gäster
|
Du kan inte skapa nya trådar i denna kategori Du kan inte svara på trådar i denna kategori Du kan inte redigera dina inlägg i denna kategori Du kan inte ta bort dina inlägg i denna kategori Du kan inte bifoga filer i denna kategori
|